搜 索
首 页
练习与测试答案
补充习题答案
课课练答案
同步练习答案
阅读答案
电子课本
更多
其他答案
课件下载
试卷练习
教学反思
说课稿
录音下载
教案下载
作文范例
简笔画下载
教学视频
语文知识
班主任资料
教材
其他资料
零五网
›
全部参考答案
›
亮点给力提优课时作业本答案
›
2026年亮点给力提优课时作业本九年级物理下册苏科版 第59页解析答案
1. (2025·广东韶关一模)如图所示,小磁针在条形磁体的作用下处于静止状态,请标出小磁针的 N 极和条形磁体磁感线的方向.
答案:
1.如图所示
2. (2025·湖南怀化二模)两个条形磁体相互靠近时,请标出图中所有磁感线的方向和小磁针的 N 极(把 N 极涂灰并标上字母).
答案:
2.如图所示
3. (2025·广东惠州期末)磁体旁的小磁针静止时
N 极指向右侧,请在图中标出磁感线的方向并在虚线框中标出磁体的磁极.
答案:
3.如图所示
4. 如图是地球及地磁场的示意图,在 A 端旁括号中标出地磁场 A 端的极性,在 B 点小磁针旁括号中标出小磁针上端的极性.
答案:
4.如图所示
5. (2025·吉林)如图所示,请标出通电螺线管的 N 极并在 A 点画出磁感线的方向.
答案:
5.如图所示
6. 如图所示,在螺线管旁悬挂一条形磁体,闭合开关后,条形磁体向左偏,请在虚线框内标出螺线管的磁极和电源的极性.
答案:
6.如图所示
7. (2025·河南周口二模)将铜棒、铁棒插入菠萝中,便制成了一个水果电池.将一根软导线在纸筒 A 上绕制成一个螺线管线圈,导线两端接在水果电池两极上.螺线管周围放置的小磁针静止时如图所示,请画出纸筒 A 上导线的绕线.
答案:
7.如图所示
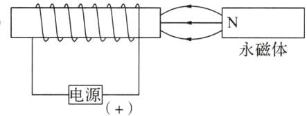
8. 根据图中永磁体与通电螺线管之间的磁感线,标出永磁体的 N 极,并在括号内标出:通电螺线管左端的磁极和电源右端的极性.
答案:
8.如图所示
(N)
9. (2025·四川达州)如图所示,开关闭合后,小磁针静止时右端为 N 极.请在对应括号内和 A 点分别标出:
(1) 螺线管“N”或“S”极;
(2) 电源的“+”或“-”极;
(3) A 点磁感线方向.
答案:
9.如图所示
10. (2025·四川凉山)如图所示,请用笔画线代替导线将电路连接完整,并在括号中用符号标出螺线管的磁极(要求:闭合开关,向左移动滑片 P,螺线管磁性变强).
答案:
10.如图所示
上一页
下一页