搜 索
首 页
练习与测试答案
补充习题答案
课课练答案
同步练习答案
阅读答案
电子课本
更多
其他答案
课件下载
试卷练习
教学反思
说课稿
录音下载
教案下载
作文范例
简笔画下载
教学视频
语文知识
班主任资料
教材
其他资料
零五网
›
全部参考答案
›
学习与评价答案
›
2026年学习与评价江苏凤凰教育出版社八年级物理下册苏科版 第23页解析答案
5. 如图所示,弹簧测力计未挂重物时指针在“0”刻度线下方。在测量前,应该先(
D
)
A.把挂钩向下拉
B.把挂钩向上托
C.把刻度板向上移
D.把刻度板向下移
答案:
5. D
6. 关于弹簧测力计的使用注意事项,下列说法中错误的是(
A
)
A.弹簧测力计必须竖直放置,不得倾斜
B.使用前,必须检查指针是否指在“0”刻度线处
C.使用时,弹簧、指针、挂钩不能与外壳摩擦
D.所测力的大小不能超出测量范围
答案:
6. A
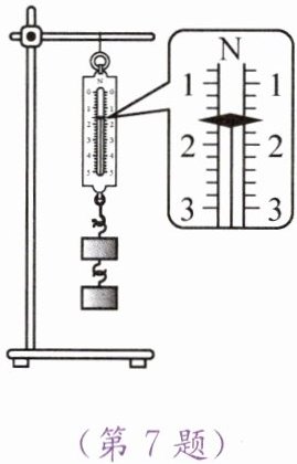
7. 小明把两个钩码挂到弹簧测力计的挂钩上,弹簧测力计的示数如图所示。下列说法中错误的是(
D
)
A.在弹性限度内,弹簧受到拉力越大,弹簧的伸长量就越大
B.测量前,需把弹簧测力计在竖直方向调零
C.测量时,弹簧测力计中的弹簧在拉力的作用下发生了形变
D.该弹簧测力计的示数为2.4 N
答案:
7. D
8. 用橡皮筋、回形针、棉线、小瓶盖、牙膏盒、铁丝、钩码和刻度尺等,做一个如图所示的测力计。下列说法错误的是(
D
)
A.测力计的刻度可以标在牙膏盒上
B.可以把回形针上端当作测力计的指针
C.可以利用钩码拉伸橡皮筋来标注测力计的刻度
D.不同橡皮筋做的测力计的量程一定都相同
答案:
8. D
9. 若要较精确地测量约为10 N的力,则下列弹簧测力计中最合适的是(
C
)
A.量程为0~5 N,分度值为0.1 N
B.量程为0~10 N,分度值为0.2 N
C.量程为0~15 N,分度值为0.1 N
D.量程为0~20 N,分度值为0.2 N
答案:
9. C
上一页
下一页