2. 如右下图,将一个半径为r、高为h的圆柱沿着一条直径切成相同的两部分,表面积比原来增加(
B
)。

A.2rh
B.4rh
C.2πr²
D.4πr²
答案:2. B 【提示】表面积增加了两个长是2r、宽是h的长方形面积。
3. 下面说法正确的是(
A
)。
A.把圆锥沿顶点垂直于底面切割,一定能得到等腰三角形的切面
B.两个底面是圆的物体一定是圆柱
C.侧面积相等的两个圆柱,表面积也一定相等
D.已知圆柱的体积是圆锥体积的3倍,则圆柱与圆锥等底等高
答案:3. A 【提示】A选项:把圆锥沿顶点垂直于底面切割,一定能得到等腰三角形的切面,正确;B选项:根据圆柱的定义可知两个底面是圆形的物体不一定是圆柱,错误;C选项:圆柱的表面积=侧面积+2个底面积,侧面积相等时,底面积可能不同,表面积不一定相等,错误;D选项:圆柱体积是与其等底等高圆锥体积的3倍,但圆柱的体积是圆锥体积的3倍时,圆柱与圆锥不一定等底等高,错误。
4. 右图中,水滴进圆锥形玻璃容器的过程中(滴水速度保持不变),水的高度随时间变化的情况是(
D
)。


答案:4. D 【提示】因为题图中的圆锥形玻璃容器由下到上底面积越来越大,滴水速度保持不变,所以玻璃容器中水的高度先快速上升,然后缓慢上升,选项D满足要求。
5. 观察下图,下面说法中正确的是(
B
)。(单位:厘米)

A.甲的体积与乙的体积的比是3:1
B.丁的体积与甲的体积相等
C.丙的体积是乙的体积的$\frac{1}{3}$
D.丁的体积是戊的体积的3倍
答案:5. B 【提示】通过计算每个图形的体积,比较它们之间的体积关系,从而判断哪个选项是正确的。
三、算一算。(每题8分,共16分)
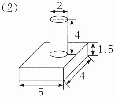
1. 计算下面各图形的表面积。(单位:厘米)


答案:1. (1)$3.14×4×6÷2+3.14×(4÷2)^{2}+4×6=74.24$(平方厘米)
【提示】半个圆柱的表面积=圆柱侧面积的一半+一个圆柱的底面积+半圆柱的底面长方形的面积
(2)$3.14×2×4+(5×4+5×1.5+4×1.5)×2=92.12$(平方厘米)
【提示】表面积=圆柱的侧面积+长方体的表面积